電話咨詢:
0411-85647888
企業郵箱 :
ywy@ywygs.com


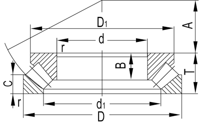
| 選擇 | 詢價 | 型號 | 尺寸(mm) | 基本額定載荷(KN) | 極限速度(rpm) | 重量 | ||||
|---|---|---|---|---|---|---|---|---|---|---|
| d | D | B | rs?min | Cr | Cor | 油 | (kg) | |||
| 29317 | 85 | 150 | 39 | 1.5 | 265 | 820 | 2300 | 2.94 | ||
| 29318 | 90 | 155 | 39 | 1.5 | 285 | 915 | 2300 | 3.08 | ||
| 29320 | 100 | 170 | 42 | 1.5 | 345 | 1160 | 2100 | 3.94 | ||
| 29322 | 110 | 190 | 48 | 2 | 445 | 1500 | 1800 | 5.78 | ||
| 29324 | 120 | 210 | 54 | 2.1 | 535 | 1770 | 1600 | 7.92 | ||
| 29326 | 130 | 225 | 58 | 2.1 | 615 | 2100 | 1500 | 9.76 | ||
| 29328 | 140 | 240 | 60 | 2.1 | 685 | 2360 | 1400 | 11.4 | ||
| 29330 | 150 | 250 | 60 | 2.1 | 675 | 2390 | 1400 | 12 | ||
| 29332 | 160 | 270 | 67 | 3 | 820 | 2860 | 1300 | 15.9 | ||
| 29334 | 170 | 280 | 67 | 3 | 855 | 3050 | 1200 | 16.6 | ||
| 29336 | 180 | 300 | 73 | 3 | 995 | 3600 | 1100 | 21.2 | ||
| 29338 | 190 | 320 | 78 | 4 | 1150 | 4250 | 1100 | 26 | ||
| 29340 | 200 | 340 | 85 | 4 | 1280 | 4600 | 980 | 31.9 | ||